Schnellspannpratzen
Artikelnummer: 04200
Produktinfo
Material
Base in spheroidal cast iron,
strap and clamping screw in tempered steel
Yta
Black oxide finish
Notera
Quick-Acting Clamps are universal, flexible clamping devices which are reassembled from individual components and yet always make up a complete unit.
There are no loose parts which first have to be put together for a clamping operation.
Thanks to their compact design, these clamps can be placed very close to the workpiece, so that the full surface area of the machine table can be used.
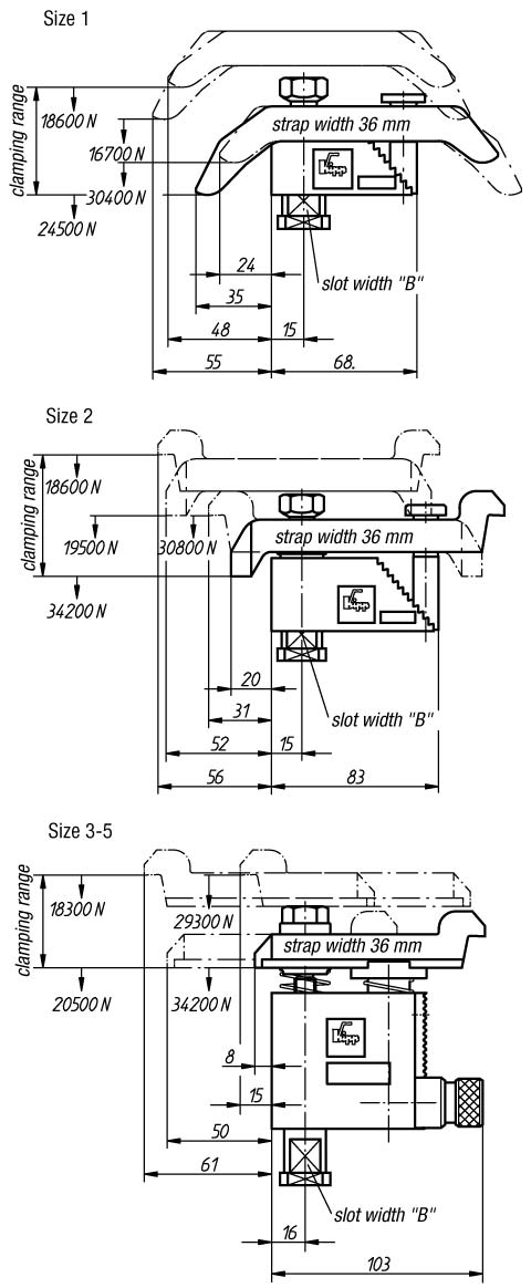
| Order No. | Size | Clamping range | Weight | Slot width B to DIN 650 |
| 04200-10X12 | 1 | 0-35 | 0,970 | 12 |
| 04200-10X14 | 1 | 0-35 | 0,970 | 14 |
| 04200-10X16 | 1 | 0-35 | 0,970 | 16 |
| 04200-10X18 | 1 | 0-35 | 0,970 | 18 |
| 04200-20X12 | 2 | 25-85 | 1,210 | 12 |
| 04200-20X14 | 2 | 25-85 | 1,210 | 14 |
| 04200-20X16 | 2 | 25-85 | 1,210 | 16 |
| 04200-20X18 | 2 | 25-85 | 1,210 | 18 |
| 04200-30X12 | 3 | 80-137 | 1,710 | 12 |
| 04200-30X14 | 3 | 80-137 | 1,710 | 14 |
| 04200-30X16 | 3 | 80-137 | 1,710 | 16 |
| 04200-30X18 | 3 | 80-137 | 1,710 | 18 |
| 04200-40X12 | 4 | 125-224 | 2,470 | 12 |
| 04200-40X14 | 4 | 125-224 | 2,470 | 14 |
| 04200-40X16 | 4 | 125-224 | 2,470 | 16 |
| 04200-40X18 | 4 | 125-224 | 2,470 | 18 |
| 04200-50X12 | 5 | 160-300 | 3,060 | 12 |
| 04200-50X14 | 5 | 160-300 | 3,060 | 14 |
| 04200-50X16 | 5 | 160-300 | 3,060 | 16 |
| 04200-50X18 | 5 | 160-300 | 3,060 | 18 |
Konstruktion

